Neue Trends bei
Komplettverflüssigungssätzen
Komplettverflüssigungssätzen
Verflüssigungssätze sind ein wichtiges Basisprodukt für den gewerblichen Kälteanlagenbau. Dabei geht der Trend in den letzten Jahren eindeutig zu einem Plus an Ausstattung. Damit hat sich die Anzahl der von Fachbetrieben eingesetzten Komplettverflüssigungssätze, bei denen zusätzlich Komponenten wie Trockner, Schauglas, Lüfterdrehzahlregelung, wetterfestes Gehäuse und diverse Elektrobauteile bereits vormontiert sind, deutlich erhöht. Aus dieser Tatsache heraus stellt sich die Frage, was ein solcher Komplettverflüssigungssatz können muss und welche Innovationen sinnvoll sind.
Zuverlässigkeit
Ein Hauptaugenmerk liegt bei allen im gewerblichen Kälteanlagenbau eingesetzten Geräten auf der Zuverlässigkeit. Kein Anlagenbauer möchte Zeit, Geld und Kundenwohlwollen opfern, indem er endlose Gewährleistungsnachbesserungen ausführt – von Sekundärkosten gar nicht zu reden. Um diesem Punkt schon bei der Auswahl der Kältekomponenten Rechnung zu tragen, sollten immer Komplettverflüssigungssätze mit Qualitätskomponenten verwendet werden. Diese stellen eine langjährig zuverlässige Funktion und maximale Dichtigkeit sicher. Zusätzlich zur Qualitätskontrolle bei den Einzelkomponenten kommt noch die Funktions- und Dichtheitsprüfung beim Komplettverflüssigungssatz. Damit kann der Anlagenbauer sicher sein, dass bereits die Hälfte seiner Kälteanlage langfristig dicht ist und die verwendeten Komponenten inklusive Rohrdimensionen aufeinander abgestimmt sind.
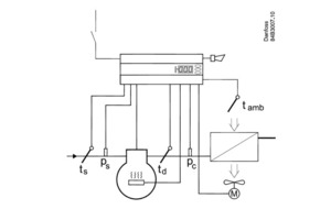
Moderne Komplettverflüssigungssätze wie „Optyma PlusTM neue Generation“ bieten all das, gehen aber noch einen Schritt weiter. Durch ein integriertes elektronisches Modul werden alle relevanten Drücke und Temperaturen im Inneren des Verflüssigungssatzes überwacht. Dies sind Saugdruck, Verflüssigungsdruck, Saugstutzentemperatur, Heißgasend- und Umgebungstemperatur. Durch all diese ständig gemessenen Parameter kann das Regel- und Überwachungsmodul eine zuverlässige Aussage darüber treffen, ob die Anlage ordnungsgemäß funktioniert, oder ob sich bereits eine Störung ankündigt. Falls gewünscht, kann noch ein zusätzlicher Fühler angeschlossen werden, der beispielsweise die Raumtemperatur überwacht. Alle Alarmgrenzen und -verzögerungen lassen sich flexibel festlegen. Somit kann in Absprache mit dem Betreiber festgelegt werden, ob im Zweifel lieber ein Monteurbesuch mehr erfolgen – z.B. aufgrund der Wichtigkeit der Kälteanlage – oder ob nur in eklatanten Fällen ein Servicemitarbeiter vor Ort eingreifen soll. Alarme können für den Betreiber sichtbar an einem optionalen externen Display oder über einen potentialfreien Ausgang am Überwachungsmodul ausgegeben werden. Der potentialfreie Ausgang kann beispielsweise für eine rote Alarmleuchte am Schaltschrank oder für eine Sammelstörmeldung der Haustechnik verwendet werden. Für besonders anspruchsvolle Kunden besteht die Möglichkeit der Einbindung des Überwachungsmoduls in ein „Adap Kool“-Netzwerk auf MOD- oder LON-Bus-Basis. Dieses Netzwerk kann lokal oder mit Fernserviceoption ausgeführt sein.
Verdichterschutzfunktionen
Zusätzlich sind Funktionen wie Mindestbetriebs-, Mindeststillstandsdauer und Mindestdauer zwischen zwei Startvorgängen für den Verdichter im Regel- und Überwachungsmodul integriert. Standard-vollhermetische Hubkolben- und Scrollverdichter dürfen maximal zwölf Starts in der Stunde absolvieren. Das bedeutet, sie dürfen nicht öfter als alle fünf Minuten anspringen. Wenn sie angelaufen sind, sollen sie auch eine Mindestdauer in Betrieb sein und nicht schon nach einer halben Minute wieder abschalten. Diese drei Parameter sind für einen langjährigen und störungsfreien Verdichterbetrieb wichtig und bereits integriert. Ein zusätzliches Feature, um den Verdichter nicht zu überbeanspruchen, ist die Heißgasendtemperatur-Schutzfunktion. Diese Funktion ist besonders bei Scrollverdichtern wichtig und sorgt dafür, dass keine übermäßig hohen Verdichtungsendtemperaturen erreicht werden. Wird der Maximalwert tatsächlich überschritten, dann steigt die Lüfterdrehzahl automatisch auf das Maximum an. Dies hat normalerweise die Folge, dass die Verflüssigungstemperatur und damit auch die Verdichtungsendtemperatur abgesenkt werden. Hat diese Maßnahme nach einer im Regler definierbaren Zeit keinen Erfolg, dann wird der Verdichter abgeschaltet. Eine Wiedereinschaltung erfolgt erst dann wieder, wenn sich die Heißgastemperatur am Verdichteraustritt um mindestens 10 K verringert hat.
Energieeffizienz
Ähnlich wichtig wie die Zuverlässigkeit ist die Energieeffizienz des Komplettverflüssigungssatzes. Die Kälteanlage ist stets einer der Hauptenergieverbraucher in einem Gewerbebetrieb. Somit kann hier viel eingespart werden. Bei „Optyma PlusTM neue Generation“ wurden besonders durch die intelligente Regelung der Kurbelwannenheizung und des Verflüssigungsdrucks zusätzliche Einsparungen erreicht. Diese Maßnahmen zusammen mit modernster Verdichtertechnologie, strömungsoptimierten Lüfterflügeln und progressiven Microchannel-Wärmeübertragern führten zu 20 % Energieeinsparungen gegenüber dem Klassendurchschnitt.
Messungen im Feldeinsatz haben ergeben, dass die Kurbelwannenheizung nur etwa 50 % der Zeit eingeschaltet ist, wie dies bei konventionellen Anlagen der Fall ist. Um zu entscheiden, ob die Kurbelwannenheizung dauerbestromt, getaktet oder gar ganz abgeschaltet werden soll, orientiert sich das Regelmodul an der Umgebungs- und der Sauggastemperatur. Diese Funktion ist nur im Stillstand des Verdichters aktiv. Je höher die Umgebungstemperatur über der Sauggastemperatur liegt, umso weniger (oder gar nicht) wird nachgeheizt. Die Steigung der Rampe für die Kurbelwannenheizung kann bei Bedarf jederzeit verändert werden.
Bei der Regelung des Verflüssigungsdrucks fließen besonders die Außentemperatur und der aktuelle Sollwert in die permanente Berechnung des momentanen Referenzwertes für die Verflüssigungstemperatur und damit Lüfterdrehzahl ein. Der daraus resultierende Referenzwert entspricht nur so lange dem eingestellten Sollwert, bis die Umgebungstemperatur zu weit ansteigt. In diesem Fall korrigiert sich der Referenzwert nach oben und koppelt sich vom aktuellen Sollwert ab. Zusätzlich kann, z.B. für den Nachtbetrieb, eine Sollwertanhebung definiert werden, durch die der Lüfter noch langsamer dreht und somit noch geräuscharmer arbeitet. Der aktuelle Verflüssigungstemperatur-Referenzwert ist stets eine Abwägung aus möglichst niedriger Verflüssigung und moderaten Lüfterdrehzahlen. Eine niedrige Verflüssigungstemperatur bedeutet in aller Regel Einsparungen bei der Verdichterstromaufnahme, langsame Drehzahl (oder gar Stillstand) Energieeinsparungen und geringe Geräuschemissionen beim Verflüssigerlüfter.
Multikältemitteltauglichkeit
Die meisten „Optyma PlusTM neue Generation“-Verflüssigungssätze sind für den Einsatz nicht nur eines Kältemittels geeignet. Der Vorteil dabei ist, dass durch die Eignung eines Verflüssigungssatzgerätes für verschiedene Kältemittel wie R404A, R507 und R134a eine bessere Verfügbarkeit beim Kältegroßhändler gegeben ist. Damit reduziert sich die Typenanzahl erheblich, als wenn für jedes Kältemittel ein eigenes Gerät gebraucht würde. Dieser Vorteil fällt besonders bei größeren Verflüssigungssätzen ins Gewicht, weil der benötigte Lagerplatz dann entsprechend größer und teuerer ist. Der zweite Vorteil besteht in der höheren Flexibilität. Wenn beispielsweise eine Neuanlage gebaut wird und der Kunde noch nicht sicher weiß, ob in den nächsten Jahren eine Erweiterung ansteht, so ist es ratsam, einen multikältemitteltauglichen Verflüssigungssatz im Betrieb mit R134a zu montieren. Soll nun z. B. nach ein paar Jahren ein Tankstellenshop erweitert werden, dann ist es möglich, allein durch die Umstellung des Kältemittels auf R404A noch einiges an Kälteleistung herauszuholen, ohne den Verflüssigungssatz auszutauschen. Dabei schadet man dem Kunden keineswegs, denn das Kältemittel R134a ist energetisch sehr gut und steht R404A (R507) nur in punkto Universalität nach.
Microchannel-Wärmeübertrager
Nach Jahrzehnten der Lamellen-Kupferrohr-Verflüssiger zeichnet sich nun eine Revolutionierung der Wärmeübertragertechnologie bei luftgekühlten Komplettverflüssigungssätzen ab. Der Trend geht zu Microchannel-Wärmeübertragern. Microchannel-Verflüssiger sind verglichen mit Lamellen-Kupferrohr-Verflüssigern gleicher Leistung kompakter und gewichtsreduziert. Dies kommt der Transportierbarkeit und dem allgemeinen Handling des Gesamtverflüssigungssatzes entgegen. Zur unmittelbaren Gewichtsreduktion des Wärmeübertragers kommt noch die geringere benötigte Kältemittel-Füllmenge. Diese ist mit ca. 30 % erheblich und führt zu unmittelbaren Einsparungen beim Materialeinsatz bei der Inbetriebnahme. In Ländern mit Sonderbesteuerung auf klassische Kältemittel bzw. mit strikten Kältemittelfüllmengenbegrenzungen kann dieser Punkt wichtiger sein, als zunächst vielleicht vermutet. Ein weiterer Vorteil der Microchannel-Wärmeübertrager ist die gute Korrosionsbeständigkeit. Für diese Eigenschaft ist besonders die ausschließliche Verwendung von Aluminium verantwortlich. Durch diese Tatsache kann keine Korrosion durch die Bildung eines galvanischen Elements auftreten, da hierzu mindestens zwei verschiedene Metalle notwendig sind. Bei den klassischen Lamellen-Kupferrohr-Lösungen mit Aluminium/Stahl und Kupfer war dies gegeben und führte zu einer reduzierten Lebensdauer besonders unter schwierigen Umgebungsbedingungen.
Ein weiterer Punkt sind die stabilen Lamellen bei der Microchannel-Technologie. Eingedrückte Lamellen bei Anlagen mit luftgekühlten Verflüssigern sind eher der Normalfall als die Ausnahme, es muss aber nicht sein. Microchannel-Wärmeübertrager sind diesbezüglich äußerst widerstandsfähig. Die Lamellen können nicht einfach mit der Hand eingedrückt werden und es besteht bei einem solchen Vorgang auch keine Verletzungsgefahr. Somit wird der hohe Qualitätsstandard von „Optyma PlusTM neue Generation“ – selbst nach Jahren in Betrieb –weder durch die Optik, noch die Reduzierung des Luftvolumenstroms des Verflüssigers getrübt.
Scrolltechnologie für Normal-, Hubkolbenverdichter für Tiefkühlung
Verflüssigungssätze mit vollhermetischen Hubkolbenverdichtern sind aus der Kältetechnik nicht wegzudenken. Sie sind aufgrund der breiten Anwendungsmöglichkeiten äußerst flexibel einsetzbar und haben ihre Zuverlässigkeit und Langlebigkeit millionenfach bewiesen.
Besonders bei kleinen Leistungen und in der Tiefkühlung sind Hubkolbenverdichter praktisch unschlagbar. Aus diesem Grund wurde „Optyma PlusTM neue Generation“ bis zu den Hubvolumina 34 bei Normalkühlung und für alle Typen zur Tiefkühlung mit dieser Verdichtertechnologie ausgestattet.
Für Anwendungen mit mittleren und höheren Verdampfungstemperaturen und Kälteleistungen ist allerdings moderne Scrolltechnologie die erste Wahl. Somit wurden „MLZ“-Kältescrollverdichter zum Herzstück dieser „MBP-HBP“-Komplettverflüssigungssätze. Zu den besonderen Features gehören der vibrationsarme Betrieb sowie die geringen Geräuschemissionen. Um optimale Laufruhe zu gewährleisten, ist jeder Verdichter bei „Optyma PlusTM neue Generation“ – im Gegensatz zu Standardverflüssigungssätzen – in einem separaten, isolierten Abteil untergebracht. Zusammen mit der Lüfterdrehzahlregelung und dem strömungsoptimierten Lüfterflügel gehören damit Diskussionen über zu hohe Laufgeräusche der Vergangenheit an.
Serviceoptimiert
Zu einem modernen Komplettverflüssigungssatz gehört außerdem die gute Servicetauglichkeit. Bei „Optyma PlusTM neue Generation“ ist dies das Drei-Servicetürenkonzept, die Vollinformation über Drücke und Temperaturen ohne externe Messgeräte und die Verwendung von Standardkomponenten, wie z.B. ohne Löten austauschbare Bördeltrockner.
Das Drei-Servicetürenkonzept ermöglicht einen schnellen Zugang zu allen internen Komponenten des Komplettverflüssigungssatzes. Dabei sind die Servicetüren auch für häufige Betätigung geeignet und 100 % frei von „Blech auf Blech“-Vibrationsgeräuschen. Die zusätzliche Revisionstür für das Lüfterabteil wurde zur Erleichterung der mechanischen Prüfung des Lüfters und für die Säuberung bei Wartungsintervallen integriert. Bei klassischen Lamellen-Kupferrohr-Verflüssigern wird das Register meist in Luftrichtung gesäubert, bei Microchannel ist eine Reinigung in entgegengesetzter Richtung sinnvoll, da sich der Schmutz eher an das Register ansetzt, anstatt wie bei traditionellen Verflüssigern in das Register einzudringen.
Beim Servicefeature „Vollinformation über Drücke und Temperaturen“ werden die Vielzahl von Sensoren genutzt, die in „Optyma PlusTM neue Generation“ verbaut sind. Der Servicemonteur kann am Regel- und Überwachungsmodul bequem alle Drücke und Temperaturen auslesen, ohne den Manometer- oder Temperaturmesskoffer aus seinem Fahrzeug zu holen. Diese Eigenschaft ist besonders für einen Kurzcheck einer Anlage sinnvoll. Ein solcher Check kann auch an einem optionalen externen Display, welches an einer anderen Stelle als der Verflüssigungssatz montiert ist, durchgeführt werden (z.B. „Optyma PlusTM neue Generation“ auf dem Dach, externes Display im Schaltschrank im Gebäude). Im Zuge von Wartungsarbeiten oder bei der Störungssuche kann auch das Alarmgedächtnis des Reglers nützliche Dienste leisten. Sieht man dort etwa gehäuft Niederdruckstörungen, so kann gezielt nach Kältemittelverlust, einem Abtau- oder Verdampferlüfterproblem gefahndet werden. Neben dem Service erleichtert das Regel- und Überwachungsmodul auch die Inbetriebnahme. Es sind bereits alle Werte voreingestellt. Nur noch das Kältemittel vorwählen und das Modul ist einsatzbereit. Falls man bestimmte Parameter ändern möchte, kann man das tun. Es ist aber nicht zwingend erforderlich. Das spart Zeit bei der Erstinbetriebnahme.
Zur Abrundung der Serviceoptimierung von „Optyma PlusTM neue Generation“ sind Standardkomponenten verbaut, die als Ersatzteil beim Kältefachgroßhandel bezogen werden können und im Servicefall schnell bei der Hand sind. Außerdem werden Bördeltrockner (mit Lötadapter) verwendet, um ggf. einen zügigen Austausch des Trockners ohne Lötvorgang möglich zu machen.
Fazit
Moderne Komplettverflüssigungssätze sind hinsichtlich Zuverlässigkeit, Energieeffizienz und Servicetauglichkeit optimiert. Sie bieten Qualitätskomponenten plus interne Überwachung zur Eliminierung von Schäden oder Ausfallzeiten, eine intelligente Regelung von Kurbelwannenheizung und Verflüssigungsdruck und geben dem Servicemonteur stets direkt alle Informationen, die er wissen muss.
